Feast Your Eyes on Nike’s Unreleased Running Shoe Used to Break the Two-Hour Marathon

Eliud Kipchoge clocked a blistering 1:59:40 in some very special sneakers.

Eliud-Kipchoge-gear-patrol-feature

Well, it’s official — even if it’s unofficial. With the help of a flat, optimized course, a crew of elite pacers and Maurten supplementation, Eliud Kipchoge did what was once considered impossible over the weekend: run a marathon in under two hours. Though it’s not an actual world record (thanks to the aforementioned factors), it’s still an incredible feat, one that’s left many people asking about one other key ingredient: Was it the shoes??

Ah yes, the shoes. Tackling this challenge in Vienna, Austria, Kipchoge — the current marathon world record holder and 2016 Olympic champ — laced up a pair of as-yet-unreleased Nike Next% running sneakers. While the brand continues to play it a bit close to the vest, thanks to some investigative work by Believe in the Run, we do know a few things about these mystical shoes.

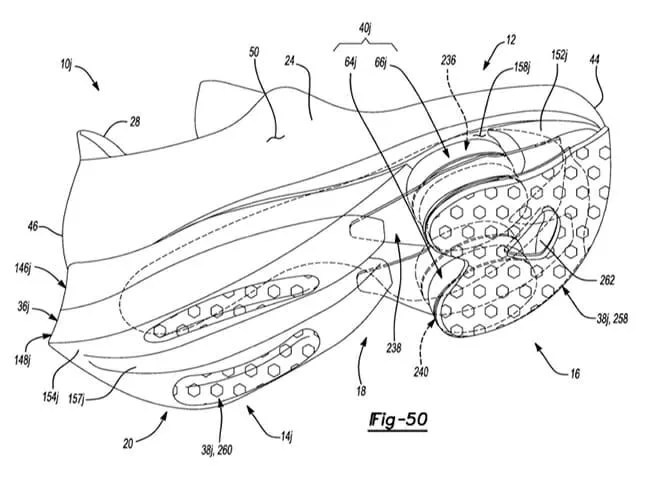
The blog uncovered a filing with the US Patent and Trademark Office that reveals the specifics of what may be this particular shoe, which may be called the alphaFLY. Short takeaway: this thing is funky, flexy and fast. What follows are some of the highlights.

nike-alphafly

Carbon Fiber Is Critical

The sole consists of four cushioning pods, two layers of midsole foam and (wait for it) three carbon-fiber plates. That’s two more than any other shoe, and now we can’t help thinking of the Schick/Gillette razor race of yesteryear, when they just kept adding blades, to the point where an Onion article started as a joke and became reality.

The Divided Midsole Has Many Layers

The midsole has four different levels, and it’s fully segmented between the heel and forefoot, with the rear section looking comically beefy but not all that different from past Vaporfly shoes. Meanwhile, the forefoot really showcases the plates and cushioning pods, which are either filled with fluid or foam.

Energy Return Seems Inevitable

The plates and pods team up to prevent hotspots, nurture a more responsive ride and add extra stability, theorizes Believe in the Run’s Robbe Reddinger, who adds that there must be some energy return involved as well, considering what Kipchoge was able to accomplish.

We’ve Seen This Upper Before

The lightweight, meshlike upper appears consistent with material seen on track spikes at the recent World Championships in Doha, so it’s likely Nike strongly believes in this approach and that we will see it on a variety of shoes in the future.

Time will tell if consumers will be able to purchase these exact shoes or some sort of modified version. Meantime, the next best thing is the Nike ZoomX Vaporfly NEXT% ($250), a pretty kickass shoe in its own right.

MORE GREAT DEALS

Save 74% on These Cole Haan Leather Weekend Bags
Save 50% on This Affordable Automatic Pilot’s Watch
Save $88 on Bonavita’s Elite Drip Coffee Brewer
Save $70 on Master & Dynamic’s Wireless Earphones
Save $69 on Patagonia’s Best Light Down Jacket
Save $58 on These Military-Grade M-65 Jackets
Save $50 on the Patagonia Nano Puff Jacket
Save $20 on Adidas Originals Stan Smith Sneakers

Deals Last Updated: 10/14/19

Today in Gear

TIG-Sidebar-March-2019-gear-patrolGear Patrol


The best way to catch up on the day’s most important product releases and stories. Read the Story