Automakers patent many ideas. Some innovations definitely feel bound for production. Others are downright weird. Still others lie somewhere in between. And to be fair, we’re not sure where the rather unexpected patent application filed by electric truck manufacturer Rivian (and discovered by Motor1) lands on that scale.

You’d anticipate Rivian working on cool tailgate tech or a slide-out camp kitchen. But as it turns out, Rivian has also filed a patent application for a car hair dryer accessory.
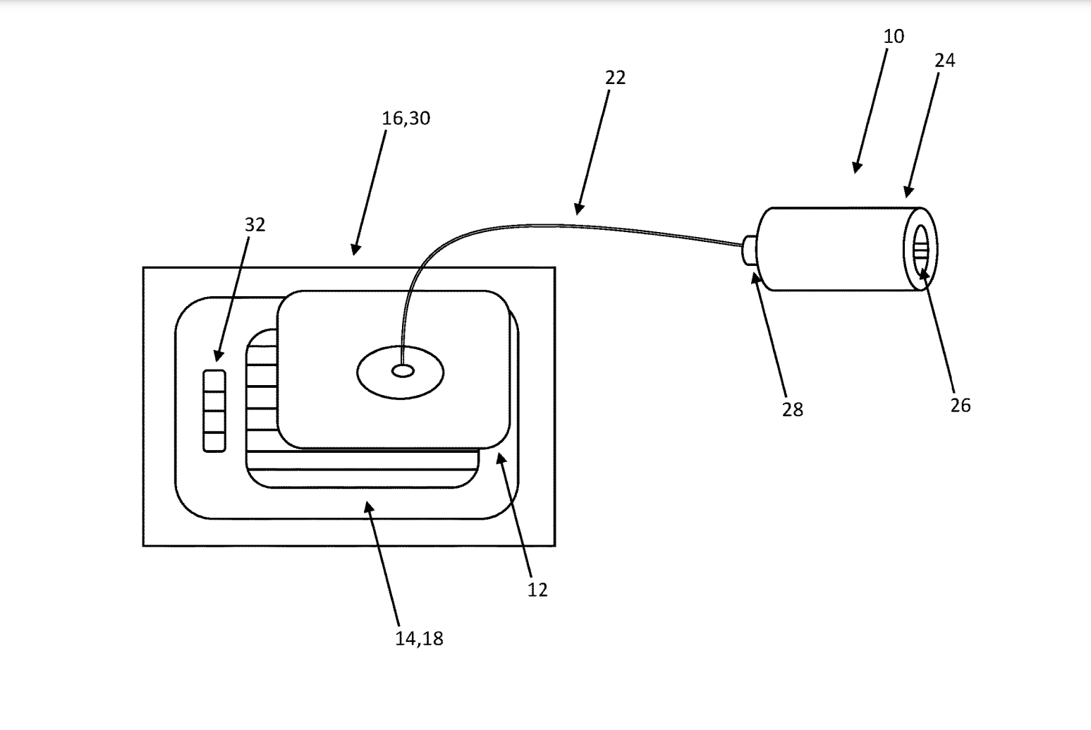
The device would attach to a vent or a dedicated opening and alert the car to its presence. The car’s HVAC system would then funnel all of the air through that opening, creating a hair dryer.
Now, you may be picturing Rivian founder R.J. Scaringe tending to an elaborate bouffant — we certainly are — but a hair dryer would actually be quite helpful, whether you’re on a campsite or not. Hair dryers, after all, are actually quite versatile tools.
You can use it in the traditional sense — whether that’s getting rid of wet camp shower hair or transitioning seamlessly from the beach to the beach adjacent bar? But you can also use it to dry wet clothing and ski gear or the car itself if you accidentally leave the windows down during a rainstorm or a blizzard (not that we have ever done such a thing). And the last thing you want after a fun day out at the lake is to have your wet dog jump in your fancy new Rivian R1T pickup and leave a smell that will linger for weeks.